PE1KQP's Projecten pagina

https://pe1kqp.radiotreffen.nl

Navigation

  • Welkom
  • Antenne straling berekenen
  • antenne voor 20 tot 10 meter
  • 80M Antenne vergelijking
  • ICOM 7300
  • J antenne
  • Kippeladder
  • Loop antenne
  • De LR antenne
  • Zig Zag Antenne
  • QRP Power meter
  • Stirlingmotor Project
  • Microfoon Versterker
  • Spoeltjes wikkelen
  • Zelf Printen maken
  • Helical Teleport 9
  • SWR meter
  • De Horizon
  • Meetkopje
  • Voetpedaal
  • Pre-Amp
  • 1 Euro Duo Deltaloop
  • Antenne Spanningsmeter
  • 70 Cm J Antenne
  • Spelen met draadjes
  • Spelen met draadjes II
  • ZRT 2008 Antenne
  • 40-meter-vertical
  • antenne-koppel-factor
  • antenne-mast-thuis
  • antenne-rendement
  • antenne-versterker
  • beveiliging-draadantennes
  • coax-kabel-meten
  • dares-80-meter-antenne
  • frees-centreerboor
  • homebrew-kippeladder
  • katrol-in-mast
  • kg-dx-antenne
  • morse-pieper
  • plankje
  • poor-mans-mmana
  • qrm-onderdrukking
  • raamantenne
  • ringkernen-meten
  • s-match-tuner
  • spinneweb-antenne
  • swr-meter
  • symmetrische-trafo
  • vonken-zender
  • Foto
  • Contact
    • ZRT

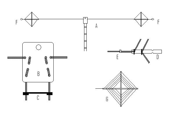
    Spinneweb antenne     PE1KQP

    Dit is een verkorte dipool antenne voor alle amateur banden die gevoed wordt door een symmetrische voedingslijn.
    Dit verkorten gebeurt door aan het einde van de dipool twee spinnewebspoelen te plaatsen. ( zie A )

    Voor de 80 meterband heeft deze antenne een spanwijdte nodig van 20 meter dus hij is 50 % korter dan een halve golf dipool.

    Het rendement was op basis van de lengte berekend op 60%, maar vergelijkende metingen met een volledige halve golf antenne toonden aan dat het verschil minder is als 3 DB (half S punt).
    De QSB maakte het onmogelijk om exacte metingen te doen, zo klein is het verschil.

    Hoe wordt deze antenne gemaakt?

    De antenne is gemaakt van 30 meter tweeling snoer, die na het splitsen door een voorgeboord kunststof snijplankje getrokken wordt, totdat er aan een kant 10 meter draad zit en aan de andere kant 20 meter. ( B )

    Het 10 meter lange stuk wordt voorzien van rozenclips. (C )

    Vanaf het snijplankje ( het midden van de antenne ) wordt na 9 meter draad de resterende 11 meter op een kruis van slagvast PVC  gewikkeld.

    Dit kruis maken we van 13 mm grijze PVC dat per lengte van 4 meter voor 3 euro te koop is,
    We verdelen deze pijp in 4 stukken van 1 meter.

    Vervolgens boren we op 2 cm van het einde een gaatje door de pijp en dan om de 5 cm nog een zestal gaatjes, dit doen we ook aan de andere zijde van de pijp en letten er op dat de gaatjes evenwijdig aan elkaar zijn. ( zie D )

    Nadat de vier pijpen van de gaatjes voorzien zijn nemen we twee pijpen en plakken met tape deze in  het midden kruislings aan elkaar.
    De gaatjes moeten aan de zijkant van het kruis zitten. ( D )

    Het wikkelen.

    Door een van de gaatjes op 2 cm van het einde steken we een kabelbinder en bevestigen het 9 meterpunt vervolgens draaien we her kruis een kwart slag en bevestigen het volgende punt en gaan zo verder tot we rond zijn.

    Als we rond zijn dan zetten de draad onder het beginpunt vast en verschuiven  de draad net zo lang tot het kruis weer haaks is.
    Nu wikkelen we de draad op dezelfde manier spiraalsgewijs van buiten naar binnen op het kruis en zetten de draad met de kabelbinders vast. ( zie G )
    Let op dat je UV bestendige kabelbinders gebruikt,

    Vervolgens wordt de andere spinnewebspoel gemaakt.

    De bevestiging.

    Voor de bevestiging gebruik je een kunststof koord dat door de horizontale PVC  pijp getrokken wordt en met een schootsteek aan de antennedraad bij het 9 meterpunt geknoopt wordt. ( E )
    Het andere einde van het koord wordt voorzien van een lus ( paalsteek  F ).

     

    All rights reserved © PE1SAY. powered by PE1SAY