Navigation
Stirlingmotor Project
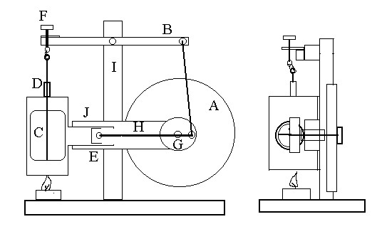
Deze stirlingmotor is door mij van eenvoudige materialen opgebouwd zoal twee halve bierblikjes voor de verdringer C en een soepblik voor de verdringerkamer. Het vliegwiel is gemaakt van 10mm dik multiplex. Er zijn een paar onderdelen waar enige nauwkeurigheid vereist is, de cilinder en de zuiger moeten soepel schuiven in de naaimachineolie E en de afdichting D mag niet klemmen. De stelschroef F moet zo afgesteld worden dat de verdringer de verdringerkamer niet raakt. Alle assen zijn gemaakt van een 3mm dik lasstaafje en de lagers van het vliegwiel komen uit een computerventilator.
![]() |

